
Marque :
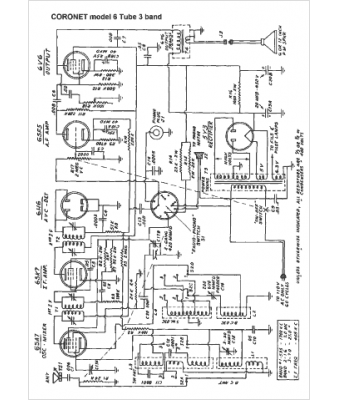
Coronet
Modèle :
6 Tube 3 band
Type appareil :
récepteur à tubes
Année :
1950
Pays d'origine :
États-Unis
