
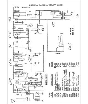
Marque :
Corona
Modèle :
210
Type appareil :
récepteur à tubes
Année :
1938
Pays d'origine :
États-Unis
