
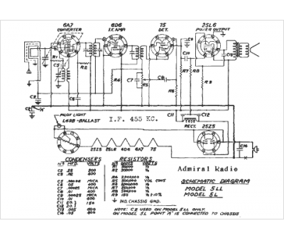
Marque :
Continental
Modèle :
5LL
Type appareil :
récepteur à tubes
Année :
1939
Pays d'origine :
Allemagne, États-Unis
