
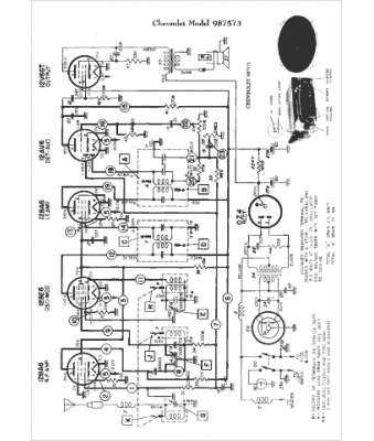
Marque :
Chevrolet
Modèle :
987573
Type appareil :
récepteur à tubes
Année :
1957
Pays d'origine :
États-Unis
