
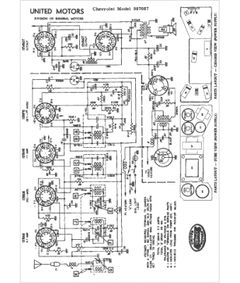
Marque :
Chevrolet
Modèle :
987087
Type appareil :
récepteur à tubes
Année :
1955
Pays d'origine :
États-Unis
