
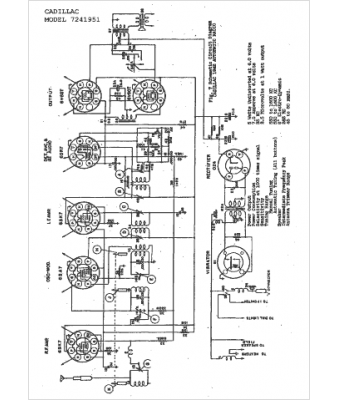
Marque :
Cadillac
Modèle :
7241951
Type appareil :
récepteur à tubes
Année :
1942
Pays d'origine :
États-Unis
