
Marque :
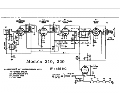
Bulova
Modèle :
310
Type appareil :
récepteur à tubes
Année :
1958
Pays d'origine :
États-Unis
