
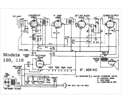
Marque :
Bulova
Modèle :
110
Type appareil :
récepteur à tubes
Année :
1958
Pays d'origine :
États-Unis
