
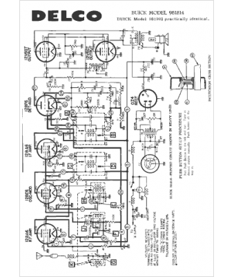
Marque :
Buick
Modèle :
981814
Type appareil :
récepteur à tubes
Année :
1958
Pays d'origine :
États-Unis
