
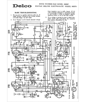
Marque :
Buick
Modèle :
980297
Type appareil :
récepteur à tubes
Année :
1963
Pays d'origine :
États-Unis
