
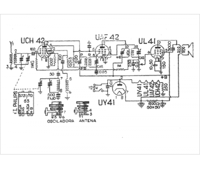
Marque :
Barbi
Modèle :
4 lampes
Type appareil :
récepteur à tubes
Pays d'origine :
Espagne
