
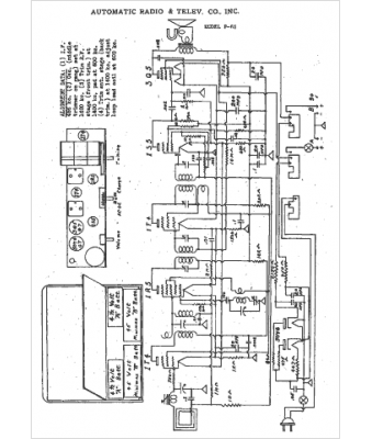
Marque :
Automatic
Modèle :
P-65
Type appareil :
récepteur à tubes
Année :
1941
Pays d'origine :
États-Unis
