
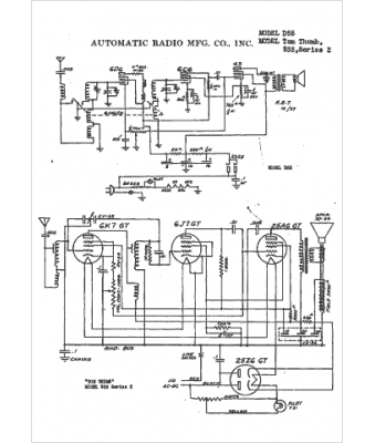
Marque :
Automatic
Modèle :
933
Type appareil :
récepteur à tubes
Année :
1938
Pays d'origine :
États-Unis
