
Marque :
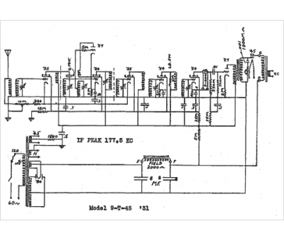
Audiola
Modèle :
9-T-45
Type appareil :
récepteur à tubes
Année :
1931
Pays d'origine :
États-Unis
