
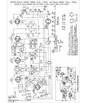
Marque :
Arvin
Modèle :
33R29
Type appareil :
récepteur à tubes
Année :
1964
Pays d'origine :
Italie, États-Unis
