
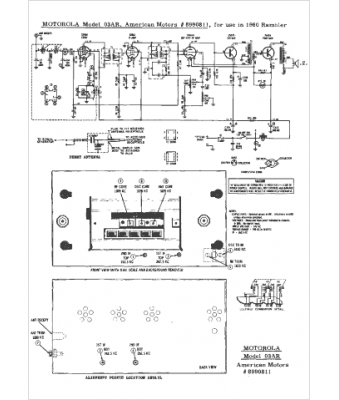
Marque :
American Motors
Modèle :
8990811
Type appareil :
récepteur à tubes
Année :
1960
Pays d'origine :
États-Unis
