
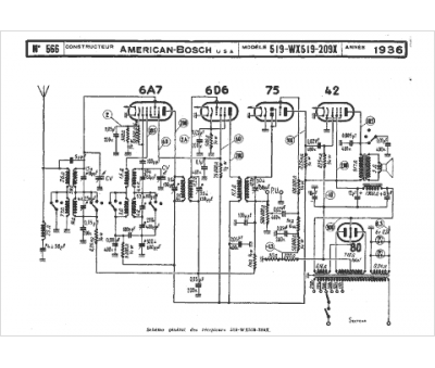
Marque :
American Bosch
Modèle :
WX 519
Type appareil :
récepteur à tubes
Année :
1936
Pays d'origine :
États-Unis
