
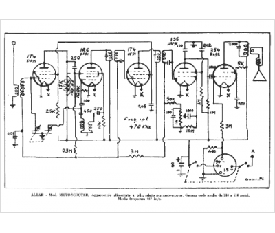
Marque :
Altar
Modèle :
Moto-Scooter
Type appareil :
récepteur à tubes
Pays d'origine :
Italie
