
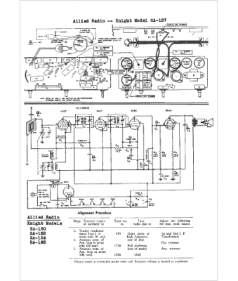
Marque :
															Allied																																															
														Modèle :
																5A-152																																	
															Type appareil :
																récepteur à tubes
															Année :
																1946
															Pays d'origine :
																États-Unis
															