
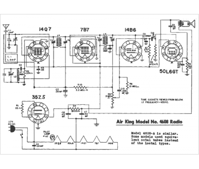
Marque :
Air King Products
Modèle :
4608
Type appareil :
récepteur à tubes
Année :
1947
Pays d'origine :
États-Unis
