
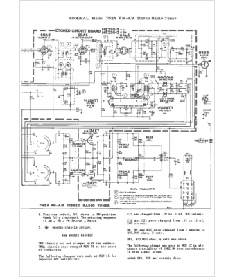
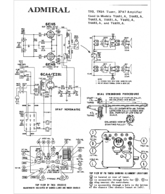
Marque :
Admiral
Modèle :
Y4483A
Type appareil :
récepteur à tubes
Pays d'origine :
États-Unis
